ADXL50 driver

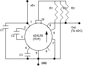
This page describes how to add an accelerometer to your flight computer. The 'standard' one everyone seems to be using is the ADXL50 from Analog Devices it even has a data sheet on line. It measures acceleration between -50G and +50G (a similar part the ADXL05 - data sheet also online - does +/- 5G) and produces an analog signal suitable for driving an ADC such as the ADC1034. To hook it up use the following diagram:

Note that the capacitors should be mounted as physically close to the part as possible - the part is very sensitive to supply noise you may have to further bypass the board's 5V line. Pin 10 has a tab next to it. The arrow shows the direction of sensitivity - if you mount it on a PCB such as the flight computer then when the board is mounted in your rocket the tab should point straight up (or down). All resistors should be 1% (these resistors controll the gain on the output amp, getting exact values is hard - an approximation will work OK but the output voltage/gain will be off a bit - I've put commonly available equivalents in parentheses in the list below).

Parts list:

	R1	49.9k	(47k)
	R2	274k	(270k)
	R3	105k	(100k)
	C1	0.1uF	(disc ceramic)
	C2	0.022uF	(disc ceramic)
	C3	0.022uF	(disc ceramic)

Calibrating the part (at least initially it's easy) - the output is linear over the range +/-50G - accuracy is 0.2% (ie 8-9 bits of your ADC - discard the lower bits). Turn on your computer and orient it with the ADXL50 tab side up - take a measurement this is +1 G - turn it 90 degrees - take another measurement - this is 0G, turn it upside down (ADXL50 tab down) this is -1 G.

No special software is required to listen to the ADXL50 other than whatever you use for your ADC.

Where do you get them? Good question - I don't have an answer yet.


Back